 |

|
|
Elektronika.lt portalo forumas
Jūs esate neprisijungęs lankytojas. Norint dalyvauti diskusijose, būtina užsiregistruoti ir prisijungti prie forumo.
Prisijungę galėsite kurti naujas temas, atsakyti į kitų užduotus klausimus, balsuoti forumo apklausose.
Administracija pasilieka teisę pašalinti pasisakymus bei dalyvius,
kurie nesilaiko forumo taisyklių.
Pastebėjus nusižengimus, prašome pranešti.
Dabar yra 2026 05 03, 19:42. Visos datos yra GMT + 2 valandos.
|
|
|
 |
Forumas » Principinės elektrinės schemos » Savadarbis suvirinimo aparatas
|
Jūs negalite rašyti naujų pranešimų į šį forumą Jūs negalite atsakinėti į pranešimus šiame forume Jūs negalite redaguoti savo pranešimų šiame forume Jūs negalite ištrinti savo pranešimų šiame forume Jūs negalite dalyvauti apklausose šiame forume
|
|
|
 |
 |
 |
Savadarbis suvirinimo aparatas |
Parašytas: 2012 07 01, 16:17 |
|
|
|
|
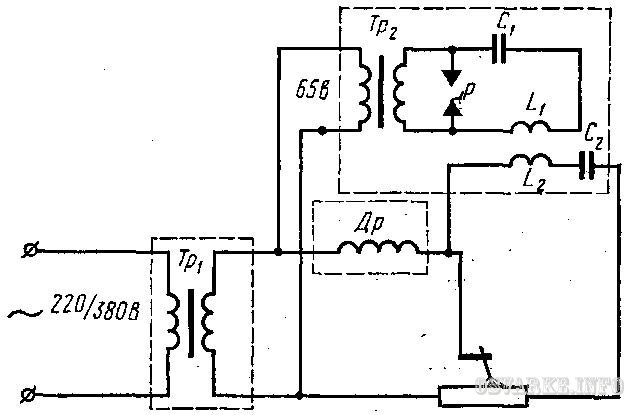
Taip gavosi, kad pasimaise tris seni serveriu upsai. Issirinkau detalems, akis bade tirs transformatoriai 30A isejimuose po 12-14V. Man kaip ir nereikia, pardavineti neidomu ,o sandeliuoti irgi nesinori. Parupo pabandyti susirinkti suvirimo aparata na ir prasidejo..
Paspausti nuotrauka
Aisku as apie tai neka nutuokiu ,bet matyt todel ir idomu.
Idejos saliga buvo apsieiti be dideliu investisiju. Kolas panasiai ir gaunasi jei neskaiciuoti 16mm2 laido plius antgaliu.
Pirmine schema gavosi tokia. Net nezinojau kam droselije tarpas reikalingas droseli pasibandymui surinkau is dvieju mikrobangines E serdziu ,bet ir tarpa reguliuojant be sroves ribojimo nevirina, (trasko, pjausto arba tesiog lidosi) tiesa elektroda siai akimirkai turiu tik 2,5. Uztrumpinus elektroda saugiklis 16A neismusa, neatitraukus elektrodo jis nedelsdamas pradeda lidytis.
Is draugo dovanu gavau tiristorius. Velaiu ji pasijungsiu. Pasirode per nelig paprasta na ir ...
Bekontaktis lanko uzdegimas naudojant HV ir lanko degimo palaikymas virinant maza srove.
Kadangi esu ne elektronikas ,o tik prijauciantis tai schemas kur yra daugiau nei tris tranzistoriai "uzverciu" ,o jei neuzverciu tada jos pacios "uzsilenkia" .
Principiniu schemu pilna ,bet neradau konkreciu pavyzdziu kur sroves reguliavimui naudojamas tiristorius.
 
Mintis tokia, lanko uzdegimui panaudoti HV pagal pateikta pavizdi, (startas spaudziant jungikli) o uzsidegus lankui (atsiradus srovei) HV osciliatorius automatiskai atsijungia. Virinimui mazomis srovemis lanko degimo palaikimui pasijungti keliu simtu voltu oscilatoriu, valdimas su mosfetu. Saugumo sumetimais osciliatorius veiktu tik tekant srovei arba kitaip degant virinimo lankui.
I virinimo aparato grandine itampa perduodama per transformatoriu. Serdis feritine. Kadangi pirkti neplanavau ir neturejau tinkamos feritines serdies susiradau dovanojama kineskopini televizoriu. Ant kineskopo yra uzmautas kuginis pailgas feritinis ziedas. Didesnis televizorius didesnis feritinis ziedas.
Aukstai itampai generuoti naudoju uzdegimo automobiline nedidele rite. Uzmaitinti ritei susirinkau variklio apsuku valdimo schema. patogu nes galima reguliuoti srove, galutinis variantas manau butu optimaliausias vien tik su itampos daugintuvu. Sekantis bandimas bus su tokia schema. Jei kas turi kokiu patarymu isangsto aciu. o jei nori palazdavoti irgi i sveikata.
 |
|
|
|
|
|
 |
 |
Savadarbis suvirinimo aparatas |
Parašytas: 2012 07 01, 21:54 |
|
|
|
|
tavo uzdegimo shema absoliuti nesamone jei taip padarei kaip nuspaisei butu neitiketina kad jinai bent kiek veiktu
C2 nereikalingas jis tik padarys kad niekas neveiktu o C4 reikia jungti ne lygereciai o nuosekliai transformatoriui. |
|
|
|
|
|
 |
Savadarbis suvirinimo aparatas |
Parašytas: 2012 07 01, 23:46 |
|
|
|
|
| C4 gali būti ir lygegrečiai, bet tada spark gapa reikia nuosekliai jungti |
|
_________________ greitai ir pigiai nebūna gerai
pigiai ir gerai nebūna greitai
gerai ir greitai nebūna pigiai |
|
|
|
 |
Savadarbis suvirinimo aparatas |
Parašytas: 2012 07 02, 17:56 |
|
|
|
|
juk tau buvo atsakyta kitoje temoje. Lygigrečiai D6 jungi kondą, 0,5 mkf, o lygiagrečiai L2 irgi kondą, apie 0,2 mkf. Tiristoriaus atidarymo schema- jau rašiau
C2 išmeti, jau rašė tau |
|
|
|
|
|
 |
Savadarbis suvirinimo aparatas |
Parašytas: 2012 07 02, 18:53 |
|
|
|
|
va dabar viskas gerai tik del visa ko butu galima papildoma droseli pries ta spark gap ideti tam kad nebutu beprasmiskai trumpinamas maitinimo saltinis,
beje is ko zadi vis ta dalyka maitinti? |
|
|
|
|
|
 |
Savadarbis suvirinimo aparatas |
Parašytas: 2012 07 02, 22:34 |
|
|
|
|
Jei klausi del aukstos itampos... tai kolkas pasijungiau sena BMW uzdegimo rite.Uzdegimo rite yra E formos serdimi ir turi oro tarpa per vidurini pirsta. Viduje integruotas diodas antrineje. atrodo ji Taip. Pasijungiau nuo pwm su NE555 vietoje tranziuko mosfetu draiveris ir moefetai. Toje schemuteje jei sujungti papildomu potenciometru D4 ir R4 galima reguliouti ir tarpo ploti tarp impulsu nepriklausomai nuo pulso plocio.
Galvoju dar pabandyti tesiog su itampos daugintuvu tik reikia pradzioje issiaiskinti kokios sroves uztenka virinimo lankui suzadinti.
O pries spark gap droselis grubiai kokio induktivumo reikalingas ?
 |
|
|
|
|
|
 |
 |
Savadarbis suvirinimo aparatas |
Parašytas: 2012 07 03, 00:17 |
|
|
|
|
kuo toliaus tuo baisiau, tu bbent kazka tesingai galetum savo shemoje padaryti.
su uzdegimo rite nieko panasau padaryti neimanoma tau reikia arba naudoti transformatoriu kad is tinklo padaryti kazkur 2kv arba tiesiog pasinaudoti itampos daugintuvu is diodu.
automobiline uzdegimo rite nepajegi duoti reikiama srove |
|
|
|
|
|
 |
Savadarbis suvirinimo aparatas |
Parašytas: 2012 07 03, 08:38 |
|
|
|
|
Teisingai- na taip-----------------------------------------------------------------------------------------. Juk sakiau, ne R, bet RC. Nuosekliai R3 , 20 omų jungi konderį 4 mkf, tinkamą impulsiniam darbui
Variantas su automobilio uždegimo rite neblogas, imho. Ten galios daug nereikia. Mačiau gamyklinius uždegiklius, jie mažos galios. Ten tik menką silpną lanką uždegti pakanka |
|
|
|
|
|
 |
 |
Savadarbis suvirinimo aparatas |
Parašytas: 2012 07 03, 17:25 |
|
|
|
|
Suzadinimui tokio uzdegimo lanko kuri duoda automobiline rite turetu uztekti tik va kas gaunasi. Kai pasijungiu viska i jegos grandine HV lankas susilpneja simtus kartu. Galiu rankomis uz bieju galu paimti ir nieko nejauciu. Vietoje pramusamu 4-5mm pramusa maziau nei 1mm ir iskrova vizualiai neturi sodrumo. Kazkodel galvojau kad paskutiniame brezinije esanti varza R2 pades nuostolius sumazinti bet nevelnio arba nereiksmingai... Atsijunges nuo tinklo su elektrodu bandziau liesti tiklo kistuko galus ten vienodai HV iskrova musa poto bandzaiu kontaktuoti su abiem galais niekur nepajungtu 4-5m laidu gulinciu ant zemes ir i ta laida vienodai iskrova musa.
Pabandzaiu virinti. Praktiskai reikia detale paiesti kad lankas uzsidegtu. Iki bekontaktinio uzdegimo labai dar toli. Taciau yra pasikeitimu virinant. Pradzioje pabandziau virinti plona skarda (buvo aisku kad as ja pjaustisiu, o ne virinsiu nes nera sroves ribojimo) po apacia pasiklojau fanieros lapa. Kai fanieros lapas pradejo degti pastebejau kad per ugni nebereikia kontaktuoti su detale, kad uzsidegtu virinimo lankas.
Tada pasiemiau masivesni gelezies gabala. Uzsidegus virinimo lankui akivaizdziai jauciasi kad virinimo lankas noriai dega didesniu atstumu nuo detales. Bandant virinti nebereikia elektrodo greitai stumti link detales norint islaikyti deganti virinimo lanka. Gavosi net siule paravesti kuri panasesne i bandyma virinti.
scemos pataisimas |
|
|
|
|
|
 |
 |
 |
 |
Savadarbis suvirinimo aparatas |
Parašytas: 2012 07 03, 20:41 |
|
|
|
|
| encefalitas-gsu rašo: |
Suzadinimui tokio uzdegimo lanko kuri duoda automobiline rite turetu uztekti tik va kas gaunasi. Kai pasijungiu viska i jegos grandine HV lankas susilpneja simtus kartu. Galiu rankomis uz bieju galu paimti ir nieko nejauciu. Vietoje pramusamu 4-5mm pramusa maziau nei 1mm ir iskrova vizualiai neturi sodrumo. Kazkodel galvojau kad paskutiniame brezinije esanti varza R2 pades nuostolius sumazinti bet nevelnio arba nereiksmingai... Atsijunges nuo tinklo su elektrodu bandziau liesti tiklo kistuko galus ten vienodai HV iskrova musa poto bandzaiu kontaktuoti su abiem galais niekur nepajungtu 4-5m laidu gulinciu ant zemes ir i ta laida vienodai iskrova musa.
Pabandzaiu virinti. Praktiskai reikia detale paiesti kad lankas uzsidegtu. Iki bekontaktinio uzdegimo labai dar toli. Taciau yra pasikeitimu virinant. Pradzioje pabandziau virinti plona skarda (buvo aisku kad as ja pjaustisiu, o ne virinsiu nes nera sroves ribojimo) po apacia pasiklojau fanieros lapa. Kai fanieros lapas pradejo degti pastebejau kad per ugni nebereikia kontaktuoti su detale, kad uzsidegtu virinimo lankas.
Tada pasiemiau masivesni gelezies gabala. Uzsidegus virinimo lankui akivaizdziai jauciasi kad virinimo lankas noriai dega didesniu atstumu nuo detales. Bandant virinti nebereikia elektrodo greitai stumti link detales norint islaikyti deganti virinimo lanka. Gavosi net siule paravesti kuri panasesne i bandyma virinti.
scemos pataisimas |
ta kvaila uzdegimo shema niekaip normaliai neveiks su uzdegimo rite, nes kaip saiau nepakanka sroves.
uzdegimo rite nepakraus c2 kondensatoriaus per viena cikla todel niekas neveiks, cia reikia nuolatines arba letai kintancios itampos kad pakrautu kondensatortiu, o tada prasimustu spark gap ir jo energija butu atiduodama i ta impulsini tranmsformatoriu. |
|
|
|
|
|
 |
 |
Savadarbis suvirinimo aparatas |
Parašytas: 2012 07 04, 03:46 |
|
|
|
|
D6 trafas su tv kineskopo feritine serdimi, antrineje (jegos grandine) 16 apviju. pirmines yra dvi 2 ir 16 apviju. Paskutini karta bandziau pasijunges pirmine prie 2 apviju. Kai anksciau bandziau 1:1 buvo vizualiai sodresne iskrova bet nezenkliai ir nuostoliai analogiskai dideli jei pajungiu rite i suvirinimo aparato grandi. Dar yra toks niuansas kad konderiai kuriuos pasijunges labai mazos talpos. Tesiog griebiau sauja keramikiniu konderiu kokiu turejau ir nupiniau "karolius". Nauju kondensatoriu tureciau greitai gauti.
Bekontaktiniam virinimo lankui uzdegti pakaktu vienos stipresnes iskrovos. Pavizdziui 2kV 1uf kondensatoriu uzdegimo rite pakrauna maziau nei per sekunde. |
|
|
|
|
|
|
 |
Google paieška forume |
|
|
 |
Naujos temos forume |
|
 |
FS25 Tractors
Farming Simulator 25 Mods,
FS25 Maps,
FS25 Trucks |
 |
ETS2 Mods
ETS2 Trucks,
ETS2 Bus,
Euro Truck Simulator 2 Mods
|
 |
FS22 Tractors
Farming Simulator 22 Mods,
FS22 Maps,
FS25 Mods |
 |
Dantų protezavimas
All on 4 implantai,
Endodontija mikroskopu,
Dantų implantacija |
 |
FS25 Mods
FS25 Maps,
FS25 Cheats,
FS25 Install Mods |
 |
FS25 Mods
Farming Simulator 25 Mods,
FS25 Maps |
 |
ATS Trailers
American Truck Simulator Mods,
ATS Trucks,
ATS Maps |
 |
RDR2 Mods
Euro Truck Simulator 2 Mods,
WOT Mods,
Assetto Corsa Rally Mods |
|

|
 |